elektricke schema diagnosticke zasuvky

Jakékoliv dotazy týkající se problémů, údržby vozů koncernu VW. Týká se jen VW/Audi/Škoda/Seat

Moderátoři: šulda, Moderátoři

Odpovědět
Jamal.1
Přispěvovatel
Příspěvky: 52
Registrován: 08 črc 2010, 23:29
Odpovědi: 0
Bydliště: Frydek-mistek

elektricke schema diagnosticke zasuvky

Příspěvek od Jamal.1 »

Zdravičko nenašel by někdo elektricke shcema na diagnostickou zasuvku auto v popisu moc by mi to pomohlo.......zkoušel jsem ho najit ale zatim bez uspěchu.....zkousel jsem propipat napajeci kablik a bez odezvy skontroloval jsem kabliky za zastrckou a vsechny zapojeny....nemohl jsem najit svorkovnici:(
uvazoval jsem jestli to nemuze byt prehozenim radia ale kdyz sem vratil original tak taky nic :( tak uz zbyva zkontrolovat jen tu svorkovnici jestli nevypad kablik a jinak to asi vypada na studeny spoj na ridici jednotce :( ,protoze v lete jsem nikdy nemel problem

predem diky
audi a3 1.9 tdi alh 66 kw 1998 - vstřiky 81 kw+PP764, vnt1749 va ,130 kW +sani z pd +v planu vyměna fmic
slovacek.milos
Aktivista
Příspěvky: 34027
Registrován: 23 pro 2007, 12:51
Odpovědi: 0
Bydliště: Strážnice

Re: elektricke schema diagnosticke zasuvky

Příspěvek od slovacek.milos »

Jamal.1 píše:Zdravičko nenašel by někdo elektricke shcema na diagnostickou zasuvku auto v popisu moc by mi to pomohlo.......zkoušel jsem ho najit ale zatim bez uspěchu.....zkousel jsem propipat napajeci kablik a bez odezvy skontroloval jsem kabliky za zastrckou a vsechny zapojeny....nemohl jsem najit svorkovnici:(
uvazoval jsem jestli to nemuze byt prehozenim radia ale kdyz sem vratil original tak taky nic :( tak uz zbyva zkontrolovat jen tu svorkovnici jestli nevypad kablik a jinak to asi vypada na studeny spoj na ridici jednotce :( ,protoze v lete jsem nikdy nemel problem

predem diky
a kolik tam máš drátů tři nebo pět miloš
Uživatelský avatar
chiptuning
Aktivista
Příspěvky: 2519
Registrován: 23 led 2006, 19:59
Odpovědi: 0
Bydliště: plzen
Kontaktovat uživatele:

Příspěvek od chiptuning »

Obrázek
Drag Power
m5668443578
Přispěvovatel
Příspěvky: 199
Registrován: 04 kvě 2007, 22:24
Odpovědi: 0
Bydliště: Čelákovice

Příspěvek od m5668443578 »

Zkus ještě změřit + - 12V jestli je na zásuvce.
More Power by me TDi Power
Jamal.1
Přispěvovatel
Příspěvky: 52
Registrován: 08 črc 2010, 23:29
Odpovědi: 0
Bydliště: Frydek-mistek

Příspěvek od Jamal.1 »

ahoj dneska sem to otestoval je to bez napěti.....jinak dratu je tam 5
tak jestli muzu poprosit o komletni schema diky moc
audi a3 1.9 tdi alh 66 kw 1998 - vstřiky 81 kw+PP764, vnt1749 va ,130 kW +sani z pd +v planu vyměna fmic
Uživatelský avatar
jaykay
Aktivista
Příspěvky: 2231
Registrován: 06 říj 2006, 14:28
Odpovědi: 0
Bydliště: Sušice

Příspěvek od jaykay »

Jamal.1 píše:ahoj dneska sem to otestoval je to bez napěti.....jinak dratu je tam 5
tak jestli muzu poprosit o komletni schema diky moc
vzdyt ti to uz chiptuning psal - kostra, kostra, Vcc, k-line, l-line
VW Touran 2.0TDI BKD Highline chip by dragpower.cz
Jamal.1
Přispěvovatel
Příspěvky: 52
Registrován: 08 črc 2010, 23:29
Odpovědi: 0
Bydliště: Frydek-mistek

Příspěvek od Jamal.1 »

jo to sice jo ale chtelo by se ti kvuli tomu kuchat cely svazek a hledat kde ty draty presne vedou ja uz sem to jednou delal a nicemu sem se nedopidil proto sem chtel komletni schema at vim kde ty draty presne vedou a kde je mam hledat......navic nejsem nejak sbehly v elektronice a vim že jsou i kompletni schemata tak proc se budu trapit a kdyz budu vedet kde je hledat propipnu si je a popripadne natahnu novy drat nez kuchat cely svazek.....navic autem jezdim denne
audi a3 1.9 tdi alh 66 kw 1998 - vstřiky 81 kw+PP764, vnt1749 va ,130 kW +sani z pd +v planu vyměna fmic
Uživatelský avatar
chiptuning
Aktivista
Příspěvky: 2519
Registrován: 23 led 2006, 19:59
Odpovědi: 0
Bydliště: plzen
Kontaktovat uživatele:

Příspěvek od chiptuning »

napajeni i kostru si tam muzes natahnout odkud chces to je uplne jedno
Drag Power
Jamal.1
Přispěvovatel
Příspěvky: 52
Registrován: 08 črc 2010, 23:29
Odpovědi: 0
Bydliště: Frydek-mistek

Příspěvek od Jamal.1 »

oka diky a nevis presně kde u baterky je veden ten puvodni + ?
měl sem nedavno problemy se spinackou zlomil se mi hlinikovy cuplik co otaci spinackou vyměno spraveno ale chvili sem startoval klicem primo na starteru tak jestli se mi ho nahodou nepodarilo odpojit
a to elektricke schema nejlepe cele elktriky by se mi stejnak siklo do budoucna nevyhrabal by si ho někde moc prosim
už je to přeci jenom starsi kousek to moje auto takže bude furt něco odchazet
diky moc
audi a3 1.9 tdi alh 66 kw 1998 - vstřiky 81 kw+PP764, vnt1749 va ,130 kW +sani z pd +v planu vyměna fmic
sky59
Aktivista
Příspěvky: 1638
Registrován: 09 črc 2007, 08:21
Odpovědi: 0

Re: elektricke schema diagnosticke zasuvky

Příspěvek od sky59 »

Jamal.1 píše:Zdravičko nenašel by někdo elektricke shcema na diagnostickou zasuvku auto v popisu moc by mi to pomohlo.......zkoušel jsem ho najit ale zatim bez uspěchu.....zkousel jsem propipat napajeci kablik a bez odezvy skontroloval jsem kabliky za zastrckou a vsechny zapojeny....nemohl jsem najit svorkovnici:(
uvazoval jsem jestli to nemuze byt prehozenim radia ale kdyz sem vratil original tak taky nic :( tak uz zbyva zkontrolovat jen tu svorkovnici jestli nevypad kablik a jinak to asi vypada na studeny spoj na ridici jednotce :( ,protoze v lete jsem nikdy nemel problem

predem diky
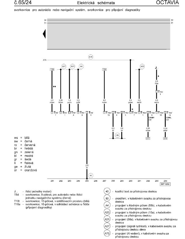
Obrázek
Jamal.1
Přispěvovatel
Příspěvky: 52
Registrován: 08 črc 2010, 23:29
Odpovědi: 0
Bydliště: Frydek-mistek

Příspěvek od Jamal.1 »

to sky59: dekuji moc konecne me nekdo pochopil
:worthy:
audi a3 1.9 tdi alh 66 kw 1998 - vstřiky 81 kw+PP764, vnt1749 va ,130 kW +sani z pd +v planu vyměna fmic
Uživatelský avatar
chiptuning
Aktivista
Příspěvky: 2519
Registrován: 23 led 2006, 19:59
Odpovědi: 0
Bydliště: plzen
Kontaktovat uživatele:

Příspěvek od chiptuning »

jen tak mimochodem pojistky jsi kontroloval :? tusim pojistka 8 - 7,5a
Drag Power
Jamal.1
Přispěvovatel
Příspěvky: 52
Registrován: 08 črc 2010, 23:29
Odpovědi: 0
Bydliště: Frydek-mistek

Příspěvek od Jamal.1 »

to este ne jsem totiz nevedel ze zastračka nejakou ma....mam totiž všechno k autu v němčině....diky za tip este to omrknu nez začnu tahat nove draty
audi a3 1.9 tdi alh 66 kw 1998 - vstřiky 81 kw+PP764, vnt1749 va ,130 kW +sani z pd +v planu vyměna fmic
Odpovědět

Zpět na „Údržba/problémy VW group (DIESEL)“